Danmark
Danmark
Sverige
Norge
Finland
Sortiment
Hængsler
Porthængsel
Tap til stabelhængsel
Tap til stabelhængsel Varmgalvaniseret 305 mm
ART.NR: 19812
DB-nr: 2267103
Stabel til stabelhængsel. Tapdiameter 16 mm.
Vejl. Udsalgspris
166,75 DKK
/ Stk
Læs mere om vores emballager
Finder onlineforhandlere
Køb online
✖
Psst, inden du går ...
Da du ikke kan bringe indkøbskurven til vores forhandlere, anbefaler vi, at du tjekker dine varer først ved at gå til Kassen
Fortsæt til forhandleren
Tjek ud
Finder butikker
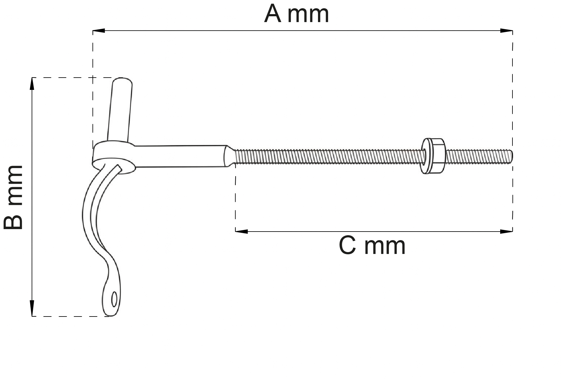
Mål og dimensioner
Art. nr
DB-nr
Tekst
Typbet
Yderbehandling
Lagerenhed
c/c mm
A mm
B mm
C mm
D mm
E mm
Gevind
Maxvægt
Højde
Længde
Ø
Returfjeder
Øvrigt
Farvekode
19809
2267102
Tap til stabelhængsel
Varmgalvaniseret
STK
240
145
155
13 mm
19812
2267103
Tap til stabelhængsel
Varmgalvaniseret
STK
305
175
215
16 mm
Komplet med
Porthængsel Varmgalvaniseret 700 mm
249,00 DKK
Porthængsel Varmgalvaniseret 600 mm
209,00 DKK